Лабораторная работа №12
Изучение работы червячного редуктора
Цель работы: знакомство
с методами определения коэффициента полезного действия редуктора, исследование
зависимости коэффициента полезного действия от тормозного момента и от частоты
вращения электродвигателя.
Червячная передача предназначена для передачи вращения
и крутящего момента между двумя валами, оси которых перекрещиваются.
В червячной передаче ведущим звеном, как правило,
является червяк, а ведомым - червячное колесо.
Передаточное отношение червячной передачи
определяется:
![]()
где
- угловые
скорости червяка и червячного колеса;
- число заходов
червяка и число зубьев червячного колеса соответственно.
Коэффициент полезного действия (эксплуатационный)
механизма вычисляется по формуле
![]()
где
- знак
произведения;
- КПД зубчатой пары;
- КПД в опорных подшипниках.
Значения частных КПД в расчетах ориентировочно
принимают:
а) для подшипников качения
![]()
б) для подшипников скольжения
![]()
в) для червячной передачи
![]()
![]()
![]()
Передачи подразделяются:
на червячные
передачи с цилиндрическим червяком (архимедова, эвольвентная и конволютная
червячные передачи - по форме рабочей поверхности витка червяка) (рис. 1, а);
на червячные
передачи с тороидальной формой червяка (глобоидные червячные передачи)
(рис.1, б);
на червячные
передачи со спирально-дисковым червяком (плоско-червячные передачи) (рис.1,
в).

а) б) в)
Рис. 1.
Схемы червячных передач:
а) с
цилиндрическим червяком; б) с тороидальным червяком;
в) со
спирально-дисковым червяком
Достоинства червячных передач:
а) возможность получения большого передаточного
отношения в одной ступени (до 100);
б) плавность хода и бесшумность при работе;
в) возможность самоторможения.
Недостатки червячных передач:
а) сравнительно невысокий коэффициент полезного
действия;
б) необходимость применения для червячных колес
дорогих и дефицитных сплавов на основе меди;
в) значительные осевые усилия на валу червяка (кроме
плоско-червячных передач);
г) значительные скорости скольжения в зацеплении
червяка и червячного колеса (приводят к нагреву червячной пары при длительной и
непрерывной работе).
Устройство и
работа установки
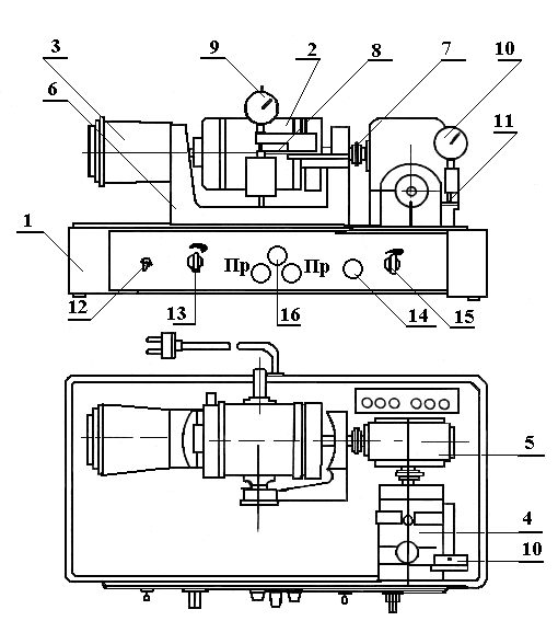
Установка (рис.2) состоит из основания (1),
электродвигателя 2 с тахометром (3), нагрузочного устройства (4) и испытуемого
червячного редуктора (5).
Электродвигатель с тахометром смонтирован на литом
кронштейне (6), закрепленном к основанию. Статор электродвигателя закреплен в
двух рамах, оси которых свободно вращаются в двух подшипниках, установленных в
кронштейне, т.е. могут вращаться вместе со статором вокруг общей оси с якорем
электродвигателя (балансирный подвес).
Вал электродвигателя и тахометра, показывающего
частоту вращения электродвигателя, соединены посредством эластичной муфты.
Якорь электродвигателя через муфту (7) соединен с
входным валом редуктора.
В передней части кронштейна смонтировано измерительное
устройство (8),состоящее из плоской пружины и индикатора часового типа (9),
упирающегося своим штоком в пружину.
При включенном электродвигателе реактивный момент
статора (равный по абсолютному значению моменту на валу якоря электродвигателя)
поворачивает статор и рычагом, расположенным на нем, давит на плоскую пружину
измерительного устройства, которая удерживает статор на повороте. При этом
деформация пружины передается на шток индикатора, отклонение стрелки которого
показывает величину деформации пружины, соответствующую определенному крутящему
моменту на валу электродвигателя.
Испытуемый червячный редуктор состоит из двухзаходного
червяка и червячного колеса
, смонтированных в корпусе.
Выходной вал редуктора соединен с валом нагрузочного
устройства через эластичную муфту.
Верхняя часть корпуса редуктора закрыта прозрачной
легкосъемной пластмассовой крышкой.
Нагрузочное устройство представляет собой магнитный
порошковый тормоз, служащий для создания тормозного момента на выходном валу
редуктора (имитация рабочей нагрузки). Оно установлено на литом кронштейне по
балансирной схеме: статор и ротор нагрузочного устройства соосны и могут
вращаться вокруг общей оси.
Измерительное устройство, состоящее из плоской пружины
(11) и индикатора часового типа (10), также смонтировано на кронштейне.
При подаче тока в обмотку электромагнита магнитная
смесь оказывает сопротивление вращению ротора, т.е. создает тормозной момент на
выходном валу редуктора, одновременно поворачивая статор, который давит на
плоскую пружину измерительного устройства, удерживающего статор от поворота.
При этом деформация пружины передается на шток индикатора, а отклонение стрелки
индикатора показывает величину деформации пружины, которая пропорциональна
определенному тормозному моменту на выходном валу.

Рис. 2.
Схема установки:
1- основание; 2 - электродвигатель; 3 -
тахометр; 4 - нагрузочное устройство; 5 - червячный редуктор; 6 - кронштейн; 7
- муфта; 8 - измерительное устройство;
9,10 - индикаторы часового типа; 11 -
плоская пружина; 12 - тумблер питания электродвигателя; 13 - потенциометр
электродвигателя; 14 - тумблер нагрузочного устройства;
15 - потенциометр нагрузочного
устройства; 16 - контрольная лампочка
В передней части основания установлена панель, на
которой размещены: тумблер (12), включающий и выключающий электродвигатель;
потенциометр (13), позволяющий бесступенчато регулировать число оборотов
электродвигателя; контрольная лампочка (16), загорающаяся, когда
электродвигатель находится под током; тумблер (14), включающий нагрузочное
устройство, и потенциометр (15), позволяющий регулировать величину тока в
обмотке электромагнита нагрузочного устройства.
Прибор имеет шнур с вилкой для подключения к сети 110
В постоянного тока.
Опытное
определение зависимости кпд червячного редуктора от его нагрузки
Зависимость между моментами на входе редуктора
и на его выходе
устанавливается
формулой
![]()
где
- КПД
червячного редуктора;
- передаточное
отношение редуктора, определяемое по формуле (1);
- крутящий
момент на валу электродвигателя;
- крутящий
(тормозной) момент на выходном валу редуктора, создаваемый нагрузочным
устройством.
Расчетная зависимость для определения КПД червячного
редуктора:
![]()
Порядок
выполнения лабораторной работы
1. Изучите настоящее руководство и устройство
лабораторной установки.
2. Получите у преподавателя исходные данные: режим
вращения электродвигателя, тарировочные графики.
3. Включите питание электродвигателя (тумб.12).
4. С помощью потенциометра 13 установите заданную
частоту вращения электродвигателя по тахометру (3).
5. Включите нагрузочное устройство (тумб.14).
6. Установите заданный тормозной момент с помощью
потенциометра (15) и индикатора (10).
7. Проверьте частоту вращения двигателя и в случае ее
изменения - произвести повторно регулировку частоты вращения с помощью потенциометра
и тахометра (3).
8. Снимите показания значений моментов
и
по индикаторам
(9) и (10) (с учетом данных тарировки).
9. Повторите операцию по п.п. 6…..8 для ряда моментов
(по заданию преподавателя).
10. Постройте график
при n=const.
Вычисления значений КПД произведите с помощью формулы (4).
11. Аналогично описанному,
изменяя частоту вращения электродвигателя, но добиваясь одинакового значения
, постройте график зависимости
12. По окончании эксперимента выключите тумблеры 12 и
14. Данные измерений сведите в таблицу.
13. Для определения кинематических зависимостей
редуктора снимается откидная крышка редуктора и подсчитывается число зубьев.
14. Рассчитайте передаточное отношение редуктора.
15. Оформите отчет.
16. Защитите работу.
Контрольные
вопросы
1. Каково назначение червячной передачи?
2. Типы червячных передач.
3. Достоинства и недостатки червячных передач.
4. Что такое передаточное отношение?
5. Какой механизм называется редуктором?
6. Как вычисляется КПД механизма?
7. Приведите расчетную зависимость определения КПД
червячного редуктора.
8. Как изменяется КПД редуктора при увеличении
оборотов электродвигателя и постоянном моменте на выходе?
9. Как изменяется КПД редуктора при увеличении момента
на выходе и постоянной скорости вращения электродвигателя?
email: KarimovI@rambler.ru
Адрес: Россия, 450071, г.Уфа, почтовый ящик 21
Теоретическая механика Сопротивление материалов
Прикладная механика Детали машин Строительная механика