Лабораторные работы

 

 

Главная

Лабораторная работа №29

Статическая неуравновешенность диска колеса легкового автомобиля и ее устранение

 

Цель работы: знакомство с производственным способом уравновешивания (статической балансировкой) диска колеса легкового автомобиля.

 

Автомобильным колесом называется конструкция, состоящая из металлического диска и смонтированной на нем шины. Колесо гайками или болтами закрепляется на ступице или барабане переднего и заднего моста автомобиля.

Одним из основных требований, предъявляемых к колесу, является его минимальное биение и дисбаланс. Биение колеса обычно вызывается погнутостью диска, шинами после их ремонта (вулканизации), неточностью центрирования диска при его установке на ступице. Биение колеса (радиальное и осевое) регламентируется требованиями ГОСТ 19534-74.

В результате неуравновешенности и биения колес сокращается срок службы шин, амортизаторов, рулевого управления, растет расход топлива, а также увеличиваются затраты на техническое обслуживание. С увеличением скорости движения автомобиля влияние этих отрицательных факторов возрастает. Суммарная неуравновешенность колеса слагается из неуравновешенности шины (55…..75)%, диска (20…..25)% и ступицы с тормозным барабаном (10….30)%.

По ведомостной нормали суммарная неуравновешенность колеса обусловлена 4-мя ее составляющими: статической, моментной, динамической и квазистатической неуравновешенностями.

При статической неуравновешенности ось вращения колеса и его главная центральная ось инерции не совпадают, но остаются взаимно-параллельными.

При моментной неуравновешенности ось вращения колеса и его главная центральная ось инерции пересекаются в центре тяжести колеса.

При динамической неуравновешенности главная центральная ось колеса и его ось вращения пересекаются или перекрещиваются.

Квазистатическая неуравновешенность по своему действию близка к статической неуравновешенности.

В суммарной неуравновешенности колеса наибольшее отрицательное влияние оказывает статическая неуравновешенность. Для ее регламентации разработан ГОСТ 4754-80.

Процесс устранения неуравновешенности колеса называется балансировкой. В принципе видам неуравновешенности колеса должны соответствовать и виды балансировок.

Однако практически рассматривается только три вида неуравновешенностей: статическая, динамическая и полная. Для устранения оказывается достаточным двух видов балансировки: статической и динамической. При статической балансировке устраняется действие неуравновешенных сил инерции, при динамической балансировке – действие как неуравновешенных сил инерции, так и неуравновешенных моментов этих сил.

Технология производства автомобильных шин предусматривает их уравновешенность. Поэтому ниже излагается производственный способ выявления неуравновешенности и балансировки только диска колеса.

Теория уравновешивания. Подавляющее большинство вращающихся деталей принято подразделять на детали “типа дисков” и детали “типа валов”. У первых длина детали меньше ее наибольшего диаметра, у вторых, наоборот, длина детали больше ее наибольшего диаметра.

Массы вращающихся деталей по ряду причин, в основном технологических, могут иметь неравномерное распределение по объему детали. Например, литые детали часто имеют внутренние пустоты (раковины). Иными словами, массы вращающихся деталей в ряде случаев оказываются неуравновешенными. Неуравновешенность массы приводит при вращении такой детали к возникновению сил инерции, которые также будут неуравновешенными. Такие неуравновешенные центробежные силы инерции вызывают нежелательные колебания (вибрации) детали. Совпадение частоты колебаний детали с собственной частотой колебаний изделия, с которым связана вращающаяся деталь, приводит к опасному явлению, называемому резонансом. При резонансе неуравновешенные центробежные силы инерции приобретают наибольшее значение и могут привести к разрыву детали или другой опасной поломке. Кроме того, эти силы инерции при вращении неуравновешенной детали постоянно изменяют свое направление, вызывая дополнительные переменные нагрузки на опоры детали, раскачивая их при этом.

Как уже отмечалось, меры по устранению или уменьшению колебаний и дополнительных нагрузок, вызываемых неуравновешенными центробежными силами инерции, называются уравновешиванием или балансировкой соответственно статической (для деталей “типа дисков”) и динамической (для деталей “типа валов”).

Напомним, что при статической балансировке уравновешиваются неуравновешенные центробежные силы инерции, при динамической – как упомянутые силы, так и их моменты. Уравновешивание масс деталей особенно важно для быстроходных машин. Осуществляется оно путем подбора и рационального распределения масс в “теле” детали.

Если неуравновешенные массы детали можно свести к одной неуравновешенной массе, то деталь при ее уравновешивании подвергают статической балансировке.

Статическое уравновешивание. На рис.1 изображено звено “типа диска”. Неуравновешенность звена вызвана смещением по какой-то причине центра масс S звена с оси вращения на расстояние  (одна неуравновешенная масса ). Располагаясь в плоскости дисбаланса (осевая плоскость звена), центр масс S может занимать неопределенное положение относительно боковых (торцовых) поверхностей звена. Поэтому, при вращении звена, наряду с неуравновешенной центробежной силой инерции , будет возникать в общем случае неуравновешенный момент этой силы, действующий в плоскости дисбаланса. Но так как плечо момента  в детали “типа диска” мало по сравнению с радиальными размерами звена, то обычно влиянием момента  пренебрегают.

При вращении звена с угловой скоростью  возникает неуравновешенная центробежная сила инерции центра масс S:

Как следует из формулы (1), центробежная сила инерции  пропорциональна квадрату угловой скорости вращения звена. В связи с этим, сила инерции даже при малых массах может иметь значительную величину.

Чтобы уравновесить эту центробежную силу инерции, необходимо создать уравновешивающую центробежную силу инерции , равную  и направленную в противоположную сторону.

Это достигается подбором в плоскости действия силы  (в плоскости дисбаланса) уравновешивающей массы  на расстоянии  от оси вращения. Из условия равенства статических моментов неуравновешенной массы и массы уравновешивающей

находят массу постоянного противовеса

предварительно назначив радиус R установки противовеса. Место для установки противовеса выбирается на торцовой поверхности звена.

В результате статической балансировки центр масс S “возвращают” на ось вращения звена, сводя к нулю радиус  (формула (1)), а следовательно, сводя к нулю и неуравновешенную центробежную силу инерции .

Установка для статической балансировки диска. Основным узлом установки (рис.2) для статической балансировки диска колеса является основание (1) с вращающейся на нем ступицей (2). На ступицу устанавливается диск (3) колеса (звено для балансировки) и закрепляется на ней 4-мя гайками. В диске выполнен ряд отверстий. Для создания статической неуравновешенности (дисбаланса) диска в эти отверстия устанавливается произвольное количество болтов, которые затем закрепляются гайками. Плоскость расположения дисбаланса диска определяется при помощи подвеса (шнур (5) с закрепленными по концам крючком и грузом). Подвес с помощью крючка крепится к рычагу (4).Последний при помощи резьбы устанавливается на основании (1).

Уравновешивающей массой  служит пластилин. Ее вес находят по выражению:

где , г/см3 – удельный вес уравновешивающей массы,

        V, см3 - ее объем.

Для определения объема V уравновешивающей массы используется пробирка с делениями, наполненная водой. Удельный вес пластилина 1,16 г/см3.

Последовательность статической балансировки. Выполнение лабораторной работы ведем шаг за шагом.

ШАГ 1. Установим диск (3) колеса на ступицу (2) и закрепим 4-мя гайками.

ШАГ 2. В отверстия диска установим ряд болтов (по указанию преподавателя (для создания дисбаланса диска).

ШАГ 3. На основании (1) закрепим рычаг (4) и с помощью подвеса (5) наметим мелом на диске расположение плоскости I-I дисбаланса (вертикальную осевую плоскость).

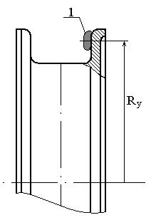
ШАГ 4. Используя уравновешивающую массу (липкая масса 1 на рис. 3), добиться безразличного равновесия диска. Липкая масса  устанавливается в плоскости дисбаланса I-I в верхней (легкой) части диска на расстоянии  от его оси вращения.

ШАГ 5. Найдем вес уравновешивающей массы  по выражению (3).

ШАГ 6. Определим статический момент уравновешивающей массы

где  - радиус ее центра масс (измеряется непосредственно).

ШАГ 7. При помощи скобы (2) установим на диске взятый из набора противовес 1 (рис. 4), предварительно определив (в общем случае) радиус его установки по формуле

Примечание. Конструкция данного диска колеса допускает установку уравновешивающей массы и противовеса на одном и том же радиусе. Поэтому выполнение работы можно ограничить шагами 1….5, приняв  и  мм.

ШАГ 8. Составим отчет с кратким изложением теории уравновешивания.

 

Image474

Рис.1. Диск

Image474

Рис.2. Установка для статической балансировки:

1- основание,  2- ступица, 3- диск,

4 – кронштейн, 5- подвес

Image474

Рис.3. Установка липкой массы: 1- липкая масса

Image474

Рис.4. Установка противовеса:

1- противовес, 2- скоба


email: KarimovI@rambler.ru

Адрес: Россия, 450071, г.Уфа, почтовый ящик 21

 

Теоретическая механика   Сопротивление материалов

Прикладная механика  Детали машин  Строительная механика

 

 

 

 

00:00:00

 

Top.Mail.Ru