Лабораторная работа №1
Определение моментов инерции масс (метод
качаний)
Цель работы: знакомство
со способом определения моментов инерции масс звеньев
произвольной формы.
Момент инерции является важнейшей динамической
характеристикой массы звена. Момент инерции характеризует инертность тела во
вращательном движении. (В поступательном движении инертность определяется его
массой).
Существенное отличие момента инерции звена от его
массы заключается в том, что масса звена - величина для него постоянная, тогда
как момент инерции звена зависит от положения оси вращения и распределения его
массы относительно этой оси.
Если известен момент инерции звена относительно
центральной оси (проходит через центр масс звена), то легко определяется момент
инерции относительно любой другой оси.
При этом отметим, что оси, относительно которых
определяются моменты инерции, перпендикулярны плоскости вращения звена.
Моменты инерции масс звеньев, имеющих однородную
структуру и простые формы, определяются аналитически. Соответствующие формулы
приводятся в технической литературе.
Для неоднородных или имеющих сложное очертание звеньев
моменты инерции их масс определяются экспериментально.
Момент инерции массы звена относительно оси подвеса в
общем случае рассчитывается по формуле:
![]()
где
- момент
инерции массы относительно произвольной оси подвеса;
- центральный
момент инерции массы звена;
m
- масса звена;
- расстояние
между центральной осью S и осью О, параллельной
центральной.
Целью данной лабораторной работы является определение
центрального момента инерции
. Для решения задачи воспользуемся понятием
физического маятника и полученными для него математическими соотношениями.
Пусть требуется определить центральный момент инерции
шатуна.
Навешиваем шатун на призму так, чтобы ось отверстия
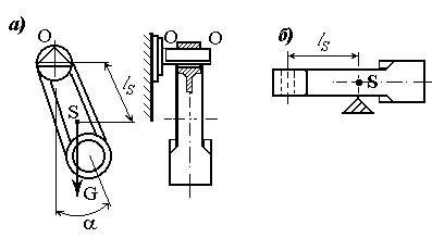
шатуна и острие призмы были параллельны (рис.1,а). Предварительно определяем с
помощью призмы положение центра масс (тяжести) S шатуна, как показано на рис. 1,б. Измеряем расстояние
от центра масс S до точки подвеса О. Погрешность измерения
мм.

Рис. 1. Схема определения момента
инерции:
а) схема подвеса шатуна;
б) схема определения центра тяжести;
S- центр
масс; О - ось подвеса; G- вес звена;
- угол отклонения
Отклоняем шатун на угол
и отпускаем
его. Шатун приходит в колебательное движение. Считаем определенное число полных
колебаний n, одновременно фиксируя время t этого числа колебаний.
По числу колебаний n и времени колебаний t определяем период колебаний (время одного полного
колебания, с):
T=t/n,
Погрешность периода колебаний ![]()
Период колебаний физического маятника

Из этой формулы находим момент инерции
массы шатуна
относительно оси подвеса О:
![]()
Вес G шатуна
определяется взвешиванием. Погрешность взвешивания
кг.
Возвращаемся к соотношению (1), из которого выражаем
искомый центральный момент инерции
шатуна:
![]()
где m=G/g - масса шатуна, кг, g- ускорение силы тяжести.
Оценку погрешности эксперимента выполним по формуле:
![]()
Тогда при переменных
полный
дифференциал
![]()
Так как полный дифференциал формулы (2) равен сумме
частных дифференциалов этой функции, заменив дифференциалы на
приращения, получим соотношение для определения абсолютной погрешности
эксперимента:
![]()
Результат эксперимента записывается в виде:
![]()
ПРАКТИЧЕСКАЯ ЧАСТЬ
Оборудование
1. Стойка с призматическим подвесом.
2. Металлическая линейка.
3. Секундомер (или часы с секундной стрелкой).
4. Звено, момент инерции которого требуется
определить.
Порядок выполнения работы
Порядок выполнения работы достаточно
подробно изложен в теоретической части и дополнений не требует.
Примечание. Перед началом выполнения
работы выбрать систему счета. После выполнения эксперимента составить отчет и
сдать преподавателю. Небрежно выполненный отчет не рассматривается и лабораторная
работа не зачитывается.
Контрольные вопросы
1. Момент инерции массы звена.
Определение.
2. Что называется центральным
моментом инерции массы звена и как ориентирована соответствующая ось звена?
3. Что называется периодом колебаний
звена и как он определяется?
4. Что называют абсолютной и
относительной погрешностями измерения?
5. Каков физический смысл момента
инерции массы звена?
email: KarimovI@rambler.ru
Адрес: Россия, 450071, г.Уфа, почтовый ящик 21
Теоретическая механика Сопротивление материалов
Прикладная механика Детали машин Строительная механика